Номинальный ток 80А напрямую
Сертифицированный MID
Высокий класс точности C
Монтаж на DIN-рейку 35 мм
Импульсный выход
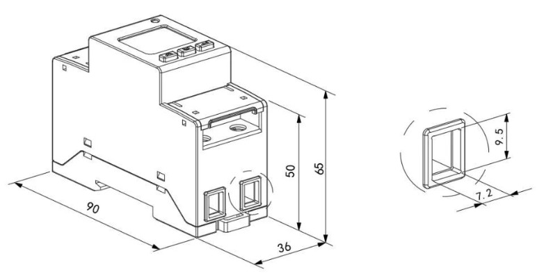
4 модуля шириной 72 мм
Для управления энергопотреблением Интернета вещей, на заводе, в школе
Измерение однофазного переменного тока
Прямой входной ток 80 А
CE-MID сертифицирован
Высокая точность, класс 1
Установка на DIN-рейку
RS485-коммуникация
Применение: Управление энергопотреблением Интернета вещей, завод, школа
+86-18702106858 / +86-21-69156352
Однофазный электросчетчик ADL200 — это компактный и высокоточный счетчик электроэнергии, предназначенный для низковольтных систем. Он измеряет однофазную активную энергию и различные электрические параметры, такие как напряжение, ток, мощность и коэффициент мощности. Благодаря 8-битному ЖК-дисплею он обеспечивает четкие показания активной энергии как в положительных, так и в отрицательных кВтч. Счетчик оснащен интерфейсом связи RS485 с протоколом MODBUS-RTU, что делает его идеальным для интеграции в платформы IoT и системы управления энергопотреблением. Сертифицированный по стандартам IEC62053-21 и IEC62053-22, он обеспечивает надежную работу и точность. Установка на DIN-рейку и малый форм-фактор облегчают развертывание в различных приложениях.
| Технические параметры | Значение | |
| Входное напряжение | Опорное напряжение | 220 В переменного тока |
| Опорная частота | 50 Гц | |
| Потребляемая мощность | <10 ВА | |
| Входной ток | Базовый ток | 10А |
| Максимальный ток | 80А | |
| Стартовый ток | 4 ‰ фунта | |
| Потребление | <4 ВА | |
| Производительность измерений | Точность измерения | 1 класс |
| Диапазон измерения | 000000.00-999999.99 кВтч | |
| Точность часов | Ошибка ≤0,5 с/день | |
| Выход | Ширина импульса | 80±20 мс |
| Пульс Постоянный | 1000 имп/кВтч | |
| Автоматический повторный тормоз | Интерфейс | RS485 (А Б-) |
| Режим подключения | Шил | |
| Проводники витой пары | ||
| Протокол | Modbus-RTU | |
| Д*Ш*В | 90*36*65 мм | |
| Сильный ток, крутящий момент на клеммах | <1,8 Нм | |
Управление энергоэффективностью
Решение IoT EMS
Компания Acrel Co., Ltd. (код акции: 300286.SZ), основанная в 2003 году, является высокотехнологичным предприятием, специализирующимся на решениях в области управления энергопотреблением и электробезопасности. Штаб-квартира компании находится в Шанхае. Acrel предлагает инновационные и устойчивые решения для повышения энергоэффективности микросетей и обеспечения электробезопасности. Обладая более чем 600 патентами и авторскими правами на программное обеспечение, Acrel внедрила более 28 000 системных решений по всему миру, сформировав комплексную архитектуру энергетического интернета «облако-периферия-конец».
Acrel Co., Ltd. является Китайская оптовая торговля Однофазный счетчик энергии RS485 на DIN-рейку переменного тока с прямым доступом Производители и Однофазный счетчик энергии RS485 на DIN-рейку переменного тока с прямым доступом Фабрика. Интегрированная продуктовая экосистема Acrel охватывает все аспекты — от программного обеспечения облачной платформы до компонентов для конечных пользователей, включая такие сектора, как энергетика, возобновляемая энергия, центры обработки данных, интеллектуальные здания, транспорт и умные города. Эти решения обеспечивают интеллектуальное управление энергопотреблением в режиме реального времени, повышая энергетическую безопасность и снижая эксплуатационные расходы. Мы предлагаем Однофазный счетчик энергии RS485 на DIN-рейку переменного тока с прямым доступом для продажи.
Производственное предприятие компании, Jiangsu Acrel Electric Manufacturing Co., Ltd., придерживается строгих стандартов качества и экологических норм, располагает передовыми испытательными центрами и стремится к использованию бессвинцовых производственных процессов. Команда Acrel, насчитывающая более 500 инженеров, разрабатывает передовые системы энергоэффективности и интеллектуальные энергетические решения.
Компания Acrel, имеющая прочные позиции на внутреннем рынке, активно расширяется на международном уровне, опираясь на глобальную сеть отделов продаж и технической поддержки, а также платформу электронной коммерции, обеспечивающую бесперебойное обслуживание по всему миру. Acrel гордится тем, что помогает предприятиям повышать эффективность, сокращать потребление и достигать целей в области устойчивого развития.
Вместе мы строим более разумное и экологичное будущее.
Авторизованные патенты
0+Количество обслуженных клиентов
0+Общее количество сотрудников
0+Производственная база
0m²AM2SE, AM3SE и AM5SE с защитой от изолирования Реле защиты Пройти строгие испытания DEKRA в соответствии со стандартами FGW TG3 и ВДЕ-АР-Н 4110:2023. Acrel получает сертификацию критически важных сетевых подключений для немецкого р...
Читать далееКак на самом деле работают интеллектуальные счетчики: физика и инженерия, лежащие в основе мониторинга энергии в реальном времени Большинство людей взаимодействуют с интеллектуальным счетчиком так же, как с термостатом — они видят результат, а не механизм. Но за каждым показанием киловат...
Читать далееУсовершенствованная серия АДЛ200Вт/АДЛ400Вт отличается первой в отрасли автоматической регулировкой последовательности фаз, миниатюрным дизайном 1P и возможностями беспроводной отладки. --- Acrel представляет революционные решения для измерения энергии, оптимизированные для перех...
Читать далее